?
什么是氣力輸送?
氣力輸送又被稱為氣流輸送,是利用空氣的能量來進行粉粒狀物料連續輸送的輸運技術。在電力、化工、食品處理、鋼鐵、冶金、機械制造、醫藥等行業具有廣泛的應用。
氣力輸送方式
按照每單位體積的氣體載體中所攜帶的粉體的質量多少可分為:稀相氣力輸送和濃相氣力輸送,而濃相氣力輸送又分為濃相動壓氣力輸送和濃相靜壓栓流氣力輸送。
按輸送方式可分為:吸式、壓送式和混合式。
稀相氣力輸送與濃相氣力輸送的對比

氣力輸送系統與裝置類型
氣力輸送粉狀物料的系統形式大致分為吸送式、壓送式或者兩種方式相結合三種。
吸送式氣力輸送系統

1-消聲器;2-引風機;3-料倉;4-除塵器;5-卸料閘閥;6-轉向閥;7-加料倉;8-加料閥;9-鐵路漏斗車;10-船艙
特點:
系統較簡單,無粉塵飛揚,可同時多點取料,工作壓力較低(小于0.1MPa),但輸送距離較短,氣固分離器密封要求嚴格。
壓送式氣力輸送系統

1-料倉;2-供料器;3鼓風機;4-輸送管;5-轉向閥;6-除塵器
特點:
工作壓力大(0.1~0.7MPa),輸送距離長,對分離器的密填充要求稍低,但易混入油水等雜物,系統較復雜。
壓送式分為低壓輸送和高壓輸送兩種,前者工作壓力一般小于0.1Mpa,供料設備有空氣輸送斜槽、氣力提升泵及低壓噴射泵等;后者工作壓力為0.1~0.7Mpa,供料設備有倉式泵、螺旋泵及噴射泵等。
吸送、壓送相結合的氣力輸送系統

1-除塵器;2-氣固分離器;3-加料機;4-鼓風機;5-加料斗
氣力輸送的優缺點對比:
優點:
直接輸送散裝物料,不需要包裝,作業效率高。
設備簡單,占地面積小,維修費用低。
可實現自動化遙控,管理費用低。
輸送管路布置靈活,使工廠設備配置合理化。
輸送過程中能物料不易受潮、污損和混入雜物,同時也可減少揚塵,改善環境衛生。
輸送過程中能同時進行對物料的混合、分級、干燥、加熱、冷卻和分離的過程。
可方便地實現集中、分散、大高度(可達90m)、長距離(可達2000m)、以及適應各種地形的粉體輸送。
缺點:
動力消耗大,短距離輸送時尤其顯著。
需配備壓縮空氣系統。
不適宜輸送粘著性強和粒度大于30mm的物料。
氣力輸送設備
空氣輸送斜槽

空氣輸送斜槽屬濃相流態化輸送設備。它由薄鋼板制成的上、下兩個槽形殼體組成,兩殼體間夾有透氣層,整個斜槽按一定角度布置。
物料由加料設備加入上殼體,空氣由鼓風機鼓入下殼體透過透氣層使物料流態化。充氣后的物料沿斜度向前流動達到輸送的目的。
斜槽的優點:
設備本身無運動部件,所以磨損的幾率也大大的減小,耐用,設備簡單,易維護檢修;
投資較少,運轉中無噪聲,動力消耗少,操作安全可靠;易于改變輸送方向,適用于多點給料和多點卸料。
缺點:
適用于小顆?;蛘叻蹱罘丘そY性物料,若物料中的粗顆粒較多時,輸送過程中會積累在槽中,累計到一定量時,需要人工排渣之后才能運行;
須保證具有準確的向下傾斜度布置,因而距離較長時落差較大,導致土建困難。
螺旋式氣力輸送泵

1-軸承;2-襯套;3-主軸;4-防灰盤;5-加料管口;6-密封填料函;7-喂料平閘板;8-螺旋壓片;9-料塞厚度調節桿;10-卸料孔口;11-重錘閘板軸;12-重錘閘板;13-檢修孔蓋;14-重錘杠桿;15-泵出口
優點:設備質量較輕,占據空間較小,也可裝成移動式使用。
缺點:輸送磨蝕性較強的物料時螺旋葉片磨損較快,動力消耗大(包括壓縮空氣和螺旋泵本身的動力消耗),由于泵內氣體密封困難,不宜作高壓長距離輸送(一般不超過700m)
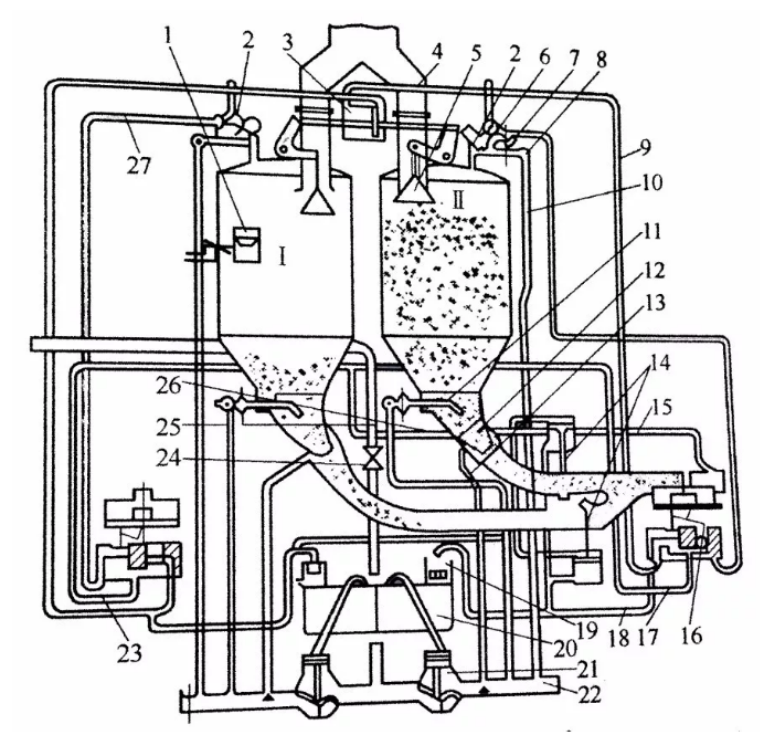
倉式氣力輸送泵

1-指示器;2-氣閥;3-汽缸;4-進料管;5-進料閥;6,9,15-壓縮空氣管;7-過濾器;8-節流閥;10,11,13-充氣管;12-噴嘴;14,24,25,26-閥門;16-電磁閥;17,18,23,27-空氣管道;19-止逆閥;20-阻滯器;21-減壓閥;22-壓縮空氣總管道;Ⅰ、Ⅱ——料倉
優點:無運動部件,運轉率高,維護檢修工作量較小,與螺旋泵相比電耗較低,輸送距離長(可達2000m),輸送中還兼有計量作用。
缺點:形體高大,占據空間較大,不利于工藝布置及建筑設計。
氣力提升泵
氣力提升泵是一種低壓吹送的垂直氣力提升輸送設備。按結構可分為立式和臥式兩種,兩者的主要區別在于噴嘴的布置方向不同。噴嘴垂直布置的為立式,水平布置的為臥式。
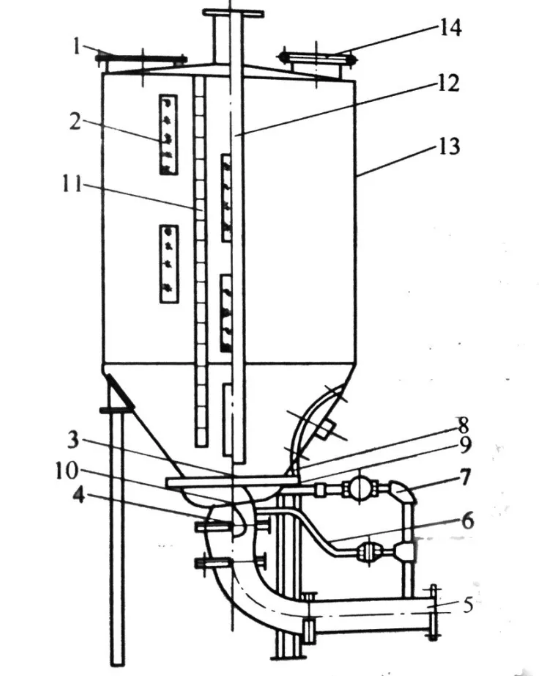
立式氣力提升泵

1-進料口;2-觀察窗;3-噴嘴;4-止逆閥;5-進風管;6-清洗風管;7-充氣管;8-充氣板;9-充氣室;10-氣室;11-料面標尺;12-輸料管;13-泵體;14-排氣孔
膨脹倉的構造

1-輸料管;2-膨脹倉倉體;3-支座;4-反擊板;5-排氣管;6-閃動閥;7-粉料
臥式氣力提升泵

臥式氣力提升泵的結構較立式簡單,外形高度也較低,輸料管出泵后先經一段水平距離然后經過彎管導向垂直提升管。
優點:結構簡單,質量輕,無運動部件,磨損小,操作可靠,維修方便,提升高度大于30m時比斗式提升機經濟。
缺點:電耗較大,體形較高大。有時會給工藝布置和建筑設計帶來一定困難。
氣力輸送設備具有防塵效果好;便于實現機械化、自動化,可減輕勞動強度,節省人力;在輸送過程中,可以同時進行多種工藝操作,如..
氣力輸送的主要特點是輸送量大,輸送距離長,輸送速度較高;能在一處裝料,然后在多處卸料。
氣體輸送設備在工業生產、環保、能源等領域中至關重要,種類繁多,具有高效、穩定、適應性強等特點。廣泛應用于各個領域,隨著科..
?能夠正確的選擇一套合適的氣力輸送設備對我們日后的加工生產、物料的輸送、效率都是至關重要的,那么在選擇氣力輸送設備時我們..
氣力輸送產業人才技術創新
管道是氣力輸送系統的重要組成部分,在整個系統中占的比例也比較重,管道也是整個系統中最容易出現問題的地方,那么在管道的選擇..
低壓氣力輸送泵氣力輸送是一門比較年輕的科學技術,從19世紀后半葉才發展起來。1883年在俄國彼得堡港出現了第一臺用來卸船倉散裝..
隨著耐高溫、耐低溫、耐強腐蝕、高強度合金材料在氣力輸送蝶閥中的應用,使金屬密封蝶閥在高溫、低溫、強沖蝕等工況下得到廣泛的應..
氣力輸送負壓吸送風機和吸送式氣力輸送設備裝置系統以獨特的耐磨件結構、材料、延長了吸送風機的使用壽命,利用高壓風機產生的真..
旋轉供料器可以將氣力輸送上部料倉中的干燥粉狀物料或小顆粒物料連續地、均勻地喂送到下一設備中去,是一種定量給料設備。旋轉供..